thule
1348 Produkte
     No reviews  
      
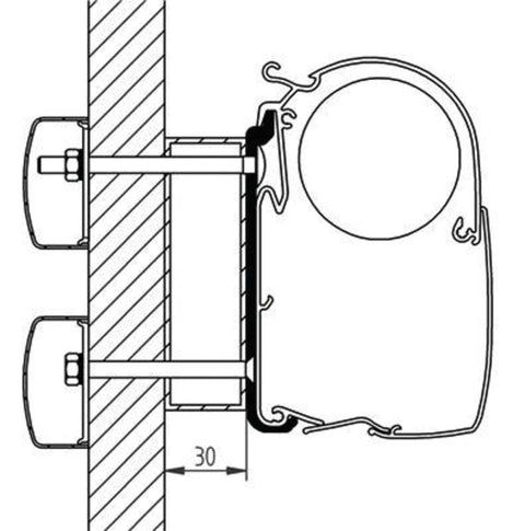
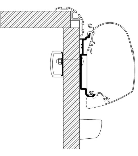
              Markisen Dach-Montage-Adapter für Hymer 2013 Wohnwagen & Reisemobile, Eriba Nova
            
          
       ab CHF 268.00
    
    
      
        Filtern und sortieren
      
      
    
    - Suchen
- 
                Camping-Shop- Alle in Camping-Shop
- 
                              
                               Vorzelt, Sonnensegel
                              
                              - Alle in Vorzelt, Sonnensegel
- Busvorzelt
- Heckzelt
- Wohnmobilvorzelt
- Wohnwagenvorzelt
- Wintervorzelt
- Luftvorzelt
- Sonnensegel
- Autodachzelt
- Isabella Vorzelt
- Herzog Zelt
- Faltpavillon
- Tarp, Zeltunterlage
- Duschzelt
- Küchenzelt, Beistellzelt
- Windschutz, Strandzelt
- Wohnmobil Abdeckung
- Wohnwagen-Schutzdach
- Wohnwagen-Fenstermarkise
- Regenrinne, Multirail
- Zeltreparatur, Imprägnieren
- Zeltbefestigung, Kederschiene
- Bodenschürze
- Zeltheringe, Abspannung
- Vorzeltstangen
- Zeltzubehör, Sturmband
- Zelttasche
- Vorzeltteppich
 
- 
                              
                               Markise Wohnwagen, Markise Wohnmobil
                              
                              - Alle in Markise Wohnwagen, Markise Wohnmobil
- Sackmarkise
- Markise Kastenwagen
- Wandmarkise
- Dachmarkise
- Fiamma Markise
- Thule Markise
- Dometic Markise
- Prostor Markise
- Markisenvorzelt Fiamma
- Markisenvorzelt Thule, Dometic, andere
- Rainblocker, Seitenwände
- Fiamma Markisen Adapter
- Thule Markisen Adapter
- Dometic Markisen Adapter
- Sturmband, Markisenabspannung
- Markisenbeleuchtung
- Markisen-Zubehör
- Fenstermarkise
- Markisenreiniger
 
- Campingtisch, Campingmöbel
- 
                              
                               Campingstuhl, Campingliege
                              
                              - Alle in Campingstuhl, Campingliege
- Campingstuhl-Alu
- Campinghocker
- Regiestuhl Camping
- Faltstuhl
- Strandstuhl
- Kinder-Campingstuhl
- Camp4 Stuhl
- Westfield Stühle
- Crespo Stuhl
- Fußstütze-Campingstuhl
- Campingstuhl Ersatzteile
- Sitzheizung, Polsterauflagen
- Feldbett
- Campingliege
- Crespo Liege
- Tasche Campingmöbel
- Luftsessel
- Westfield Liege
 
- 
                              
                               Campingzelt, Campingartikel
                              
                              - Alle in Campingzelt, Campingartikel
- Zelt günstig
- 2 Personen Zelt
- 3 Personen Zelt
- 4 Personen Zelt
- 5 Personen Zelt
- 6 Personen Zelt
- Zelt Coleman
- Familienzelt
- Zelt & Camping Zubehör
- Zelt Aufstellstangen
- Imprägniermittel, Zeltreiniger
- Schlafsack
- Isomatte selbstaufblasbar
- Aufblasbarer Sessel, Luftsofa
- Luftbett, Luftmatratze
- Luftpumpe / Blasebalg
- Insektenschutz
- Marderschreck
- Campinglampe
- Gaslampe-Camping / Ersatzteile Gaslampe
- Campingkocher, Gaskocher
- Gaskartuschen
- Tarps / Sonnendach
- Zeltpavillons / Faltpavillon
 
- 
                              
                               Camping Grills, Kocher
                              
                              - Alle in Camping Grills, Kocher
- Holzkohlegrill Edelstahl, Koffergrill
- Klappgrill, Faltgrill Camping
- Tischgrill, SAfire Grill
- Räucherofen
- Cramer Gasgrill, Dometic Gasgrill
- Camping Gasgrill
- Cadac Gasgrill
- Campingaz Grill
- Gasdruckregler Gasgrill
- Grillzubehör
- Gaskocher
- Gaskocher Parker
- Hockerkocher
- Spirituskocher
 
- 
                              
                               Melamin Geschirr, Campingküche
                              
                              - Alle in Melamin Geschirr, Campingküche
- Melamin Kindergeschirr
- Melamin Geschirr / Campinggeschirr
- Campingbesteck
- Trinkgläser, Camping-Gläser
- Kaffeebecher, Thermo-Kaffeebecher
- Tassenhalter / Tellerhalter
- Camping Kochgeschirr
- Vorratsdosen
- Wasserkessel Camping
- Küchenzubehör Camping
- Kaffeebereiter
- Kaffeemaschine 12V, Wasserkocher
- Silikon Küchenhelfer
- Haushaltsgeräte 12V
- Staubsauger 12V/230V für Wohnmobile, Wohnwagen
- Campingeimer, Abwaschschüssel
- Camping-Waschmaschinen
- Camping Wäscheständer / Camping Wäschespinne
- Müllsackständer, Camping-Mülleimer
- Klappbox, Faltbox
- Utensilo / Organizer
- Wandhaken, Kleiderhaken
- Anti-Rutschmatten
- Dosensafe, Mobil-Safe
- Luftentfeuchter
- Autowaschbürsten
 
- VW Bulli Geschenke, Bus Accessoires
- 
                              
                               Wohnwagenzubehör, Caravanzubehör
                              
                              - Alle in Wohnwagenzubehör, Caravanzubehör
- Anhängerschloss, Diebstahlsicherung Wohnwagen
- Truma-Mover®
- Rangierhilfe Wohnwagen
- Anhänger Stecker
- Alko Wohnwagen, Al-Ko Wohnwagen- Zubehör
- Stützrad, Stützrad-Zubehör
- Winterhoff, WS3000, Zugkugelkupplung
- Antischlingerkupplung, Antischleudersysteme
- Caravanwaagen / Stützlastwaagen
- Wohnwagenstützen/Keile/Wasserwagen
- Deichselhaube, Deichselabdeckung
- Mini Wasserwaage
- Wohnwagenspiegel, Caravanspiegel
- Caravanspiegel EMUK
- Trittstufe, Einstiegsstufe
- Chassis, Anhänger Zubehör
- Bodenschürzen
- Wohnwagen Schutzdach
- Reinigung / Pflege
- Wohnwagen Schutzhülle
 
- Diebstahlschutz, Sicherheit
- 
                              
                               TV, Sat und Navigation
                              
                              - Alle in TV, Sat und Navigation
- Fernseher 12V
- TV-Halterung
- Sat-Receiver
- Sat-Finder
- Mobile Sat-Anlage
- Sat-Anlage manuell
- Automatische Sat-Anlage
- Sat-Anlage Kuppel, Dome
- Carbest Sat-Anlage
- Kathrein Sat-Anlage
- Ten Haaft Sat-Anlage
- Maxview Sat-Anlage
- Teleco Sat-Anlage
- Megasat Sat-Anlagen
- Camping Sat-Anlage
- Sat-Anlage installieren
- Sat-Steckdose
- Masten, Stative, Zubehör
- Internet im Wohnmobil
- DVB-T-Antenne Outdoor
- Sat Flachantenne
- Kabeldurchführung
- Navigationssystem
- Navigationssystem Wohnmobil
- Navigation, Einbauzubehör
- 2 DIN Navi, Autoradio
- Autoradio DVD
- Lautsprecher Auto
- Rückfahrwarner
- Rückfahrkamera s/w
- Rückfahrkamera Farbe
- Rückfahrkamera Funk
- Rückfahrkamera, Monitor
- Camping-Sat Anlage-Angebote
 
- 
                              
                               Fahrerhaus & Schlafen
                              
                              - Alle in Fahrerhaus & Schlafen
- Getränkehalter
- Armaturenbrett Ablagen
- Teppich Fahrerhaus
- Armlehnenbezüge
- Heizfolie Wohnwagen, Wohnmobil
- Fußmatte Wohnmobil, Wohnwagen
- Froli Bettsysteme, Hubbett Project 2000
- Kinderbett T5/T6, Ducato
- Matratzenauflage, Bettauflage
- Nackenkissen / Reisekissen
- Schutznetz / Ablagenetz
 
- 
                              
                               Wohnmobil Zubehör
                              
                              - Alle in Wohnmobil Zubehör
- Türvorhang, Flauschvorhang
- Spurverbreiterungen
- Auffahrkeil, Ausgleichskeil, Stufenkeile
- Alufelgen, Radkappen
- Schutzfolie Kastenwagen, VW T5
- Rammschutz
- Ladekantenschutz
- Wohnmobil Schutzhülle
- Rammschutz VW T5, Fiat Ducato
- Hubstützen, Kurbelstützen
- Anhängekupplung Ducato
- Luftfedern, Schraubfedern
- Niveauregulierung Wohnmobil
- Trittstufe elektrisch
- Dichtprofile
- Serviceklappen
- Wohnmobil Tür, Wohnwagentür
- Türschloss Caravan + Reisemobil
- Schlösser für Serviceklappen
- Schließzylinder und Schlüssel
- SIKA Produkte
- Kleben und Dichten
- Caravan Spiegel
- Weitwinkel-Spiegel
- Moskitonetz für Tür
- Fiat Ducato Wohnmobil Zubehör
- Aluprofile (Wohnmobil)
- Spreizdübel, Einschlagmuttern etc.
- Reinigen und Versiegeln
- Türfeststeller Wohnmobiltür, Türfeststeller Wohnwagentür
- ZADI Schlösser
- Mercedes Sprinter Slide Out
 
- 
                              
                               Campingbus Zubehör
                              
                              - Alle in Campingbus Zubehör
- Campingboxen
- VW California Zubehör VW T5 & T6
- VW California Beach Zubehör
- VW Multivan Aufstelldach nachrüsten
- VW Multivan Zubehör VW T5 & T6
- VW Hymer Zubehör T5
- E-Bike/E-Scooter
- VW Wingamm Zubehör T5
- Reimo Campingbus Zubehör VW T5
- Reimo Campingbus Zubehör VW T6
- Holiday Travel Geschirr
- Holiday Travel Collection
- Holiday Travel Campingbus Zubehör
 
- 
                              
                               Trägersysteme
                              
                              - Alle in Trägersysteme
- Fahrradträger Wohnmobil
- Fahrradträger Heckklappe T5, T6, T4
- Fahrradträger Wohnwagen
- Thule Fahrradträger
- Fiamma Carry Bike
- Fahrradträger Anhängerkupplung
- E-Bike Träger Wohnmobil
- Anhängerkupplung Wohnmobil
- Fahrradträger Gepäckbox/Gepäckbox Fahrradträger
- Wohnmobil Heckgarage
- Fahrradträger Zubehör
- Fahrradschutzhülle
- Zurrschienen
- VW Dachträger/Dachreling Kastenwagen
- Dachreling Wohnmobil/Dachträger Ducato
- Dachbox Wohnmobil
- Motorradträger Wohnmobil
- Aluleiter, Heckleiter
- Teleskopleiter
- Spanngurte
- E-Bike/E-Scooter
- Euro Carry Fahrradträger
 
- 
                              
                               Fenster, Dachhaube, Heki, Belüftung, Airvent
                              
                              - Alle in Fenster, Dachhaube, Heki, Belüftung, Airvent
- VW T6 Fenster, T5 Schiebefenster, Van Fenster
- Kastenwagen Fenster, Fiat Ducato Fenster
- Carbest Fenster
- Dometic-Seitz Fenster
- Schiebefenster für Wohnwagen und Wohnmobil
- Ausstellfenster Wohnmobil, Wohnwagen Aufstellfenster
- MPK Dachhauben
- Bullaugen, Rundfenster
- Dometic Rollo, Seitz Rollo
- Wohnwagen Rollo, Rollo Wohnmobil
- Remis Rollo
- Fensterabdeckprofil, Innenrahmen Fenster
- Verdunkelungssystem, Remifront
- Fiamma Dachhauben Turbo Vent
- Dometic Heki, Heki Dachfenster
- Thule Dachhauben Omnivent
- Hartal Dachhauben, Remis Dachhauben
- Carbest Dachhauben
- Wohnwagen Dachhauben, Dachluke Wohnwagen
- Dachhauben, Dachluken Wohnmobile
- Dachhaubenrollos
- Solar Lüfter, Solar-Ventilator, Pilzlüfter
- Lüftungsgitter, Air Vent
- Seitz Fenster-Ersatzteile, Wohnmobil Fenster-Ersatzteile
- Windabweiser
- Polyplastic-Ersatzteile, Mekuwa Ersatzteile
- Wohnmobil Fenster Kleben und Dichten, Einbaumaterial
- Moskitonetz Campingbus
- Acrylglas Politur
- Wohnmobil Thermomatten außen, Thermomatten Fahrerhaus
- Thermomatten Isoflex
- Trennvorhang Wohnmobil
 
- 
                              
                               Gardinen & Stoffe
                              
                              - Alle in Gardinen & Stoffe
- Polsterstoff Wohnmobil, Wohnmobil Stoffe
- Wohnwagen Polster, Caravan Polster
- Campingbus Polster, Autostoffe
- Autoleder
- Reißverschlüsse
- Klettband
- Schaumstoff Polster, Schaumstoffplatten
- Schaumstoff Zuschnitt
- Schonbezüge Wohnmobil, Sitzbezüge Wohnmobil
- Gardinen & Vorhänge für Campingbusse
- Gardinenstoff Meterware
- Gardinenschienen, Gardinenzubehör
 
- 
                              
                               Selbstbauteile
                              
                              - Alle in Selbstbauteile
- Dämmmatte selbstklebend, Antidröhnmatte
- Wohnmobil Isolierung, X-Trem Isolator
- Wohnmobil Innenverkleidung, Autovelour
- Sprühkleber, hitzebeständiger Kleber
- Pappelsperrholz 3mm, Möbel Klebefolie
- Möbelbauplatten Wohnmobil, Pappelsperrholz Wohnmobil
- Umleimer, T-Umleimer
- Verbindungsprofil, Eckverbinder, Aluprofil
- Möbelgriff Wohnmobil, Einlassmuschel
- Lüftungsgitter, Kiemenblech
- Holzschrauben, Metallschrauben
- Push-Lock Schloss, Möbelschloss
- Tischfüße, Tischbeine
- Einsäulenhubtisch, Tischsäule
- Tischgestell, Hubtisch Wohnmobil
- Schwenktisch Wohnmobil
- Ausbauzubehör
- Möbelbeschläge, Möbelscharnier
- Möbelverbinder
- Klappenaufsteller
- Klappkonsole
- Schubladenauszug, Schubladenschiene, Vollauszug
- Tischgleitschiene, Tischhalterung
- Kleiderhaken, Wandhaken
 
- Drehkonsolen
- 
                              
                               Wasser & Sanitär
                              
                              - Alle in Wasser & Sanitär
- Solardusche Camping
- Wasserkanister
- Falteimer, Faltschüssel, Faltkanister
- Wasseranlage Campingbus
- Wassertank Wohnmobil und Wohnwagen
- Rolltanks Frischwasser und Abwasser
- Wasserentkeimung
- Katadyn Wasserfilter, 3M, Flow, Aqua Clean
- Tankreinigung Wassertank
- Wasseranlage Installation
- Abwassertank Wohnmobil und Wohnwagen
- Wassersteckdose, Cityanschluss
- Einfüllstutzen, Wassertankbefüllung
- Serviceklappen
- Wasser Rohrsysteme 12mm und 3/8 Zoll
- Wasserpumpe 12V, Shurflo Pumpe
- Tauchpumpe 12V, Zubehör
- Wasserschlauch, Schlauchschellen
- Trinkwasserschlauch
- Wasserhahn Wohnwagen und Wohnmobil
- Waschbecken Edelstahl und Glas
- Waschbecken Kunststoff, Duschwannen, Wohnmobil u. Wohnwagen
- Duscharmaturen
- Chemietoilette, Camping Toilette, Porta-Potti
- Cassettentoilette Thetford, Dometic
- Mobile Toiletten
- Füllstandsanzeige Wasser
- Absperrhähne Wasser
- Toilettenzubehör, Badzubehör
- Toilettenzusätze, Toilettenchemie
- Thetford Ersatzteile
- Fäkalentleerung, Abwasserschieber
- SOG WC Entlüftung
- Frostschutz Wasseranlage
 
- 
                              
                               Gas, Kocher & Spülen
                              
                              - Alle in Gas, Kocher & Spülen
- Gaskochfeld Propan
- Kochfeld Glaskeramik Diesel und 230V
- Spüle-Kocher Kombination CAN
- Spüle-Kocher Kombi Thetford
- Spüle-Kocher Kombi Dometic
- Gaskocher mit Glasabdeckung
- Spüle Edelstahl, Waschbecken
- Einbauspülen Zubehör
- Gasbackofen Camping
- Gasflasche Camping
- Gasflasche Propan
- Alu Gasflasche
- Gastank Wohnmobil, Campingbus
- Gasdruckregler Camping
- Gasregler International
- Gasdruckregler
- Truma Duocontrol
- Gasschlauch Camping
- Gasschlauch Wohnmobil + Caravan
- Gasschläuche International
- Gasverteilung
- Gassteckdose
- Gas Wasser Steckdose
- Gasinstallation Zubehoer
- Truma Gaszubehör
- Gasflaschen Füllstandsanzeige
- Gasflaschen Füllset
- Gasflaschenhalterung
- Gasflaschenschrank
- Sackkarre klappbar / Transportwagen
- Dichtheitsprüfgerät Gas
 
- Prüfgeräte
- 
                              
                               Heizen, Kühlen & Klima
                              
                              - Alle in Heizen, Kühlen & Klima
- Camping Kühlschrank
- Kühlschrank 12V Dometic
- Kühlschrank 12V Thetford
- Kühlschrank Thetford Zubehör
- Kompressor Kühlschrank Dometic
- Kühlschrank Dometic Waeco Zubehör
- Kompressor Kühlschrank Webasto
- Kühlschrank Lüfter
- Camping Kühlbox / Kühltasche
- Kompressor Kühlbox
- Dometic Kühlbox
- Absorber Kühlbox
- Kühlbox 12V, Kühlbox 12V-230V
- Carbest Kühlbox
- Klimaanlage Wohnmobil, Wohnwagen
- Dometic Klimaanlage
- Truma Klimaanlage
- Zubehör Truma Klimaanlage
- Truma Boiler
- Truma Therme
- Truma Heizung
- Alde-Heizung
- Wasserboiler
- Alde Zubehör, Ersatzteile
- Truma Warmluftverteilung
- Truma Ersatzteile
- Standheizung Diesel
- Standheizung Webasto
- Standheizung Eberspächer
- Standheizung Einbau
- Heizlüfter 12V
- Katalytofen Gas, Heizstrahler
- Heizstab 12V + 230V für Kanister
- Durchlauferhitzer Camping
 
- 
                              
                               Elektrik
                              
                              - Alle in Elektrik
- Anhänger-Elektrik
- AGM Batterie 12V, Gel Batterie
- Lithium Batterie, LiFePo4
- Batterie 12V Zubehör
- Batterieladegerät 12V, Ladebooster
- Batteriewächter 12V
- Mastervolt
- CEE-Steckdose, Vorzeltsteckdose
- CEE-Stecker, CEE-Adapter
- Carbest CEE-Kabeltrommel, CEE-Kabel
- EFOY Brennstoffzelle
- Stromgenerator 12V
- Dometic Generator Tec, Dometic Stromerzeuger Tec 29
- Honda Stromerzeuger
- Sinus-Wechselrichter 12V
- Trapez-Wechselrichter 12V/230V
- Dometic Wechselrichter
- 12V Anzeigepanel Wohnmobil
- USB Steckdose
- 12V Relais
- Haushaltsbatterie
- 12V Kabel, 12V Schalter
- 12V Stecker, Zigarettenanzünder Adapter
- 230V Steckdose, 230V Schalter Berker, Presto
- Kfz-Sicherungen und Verteiler
- Vorzeltleuchte
- 12V Netzteil, Vorschaltgeräte
- LED Leuchten 12V
- LED Streifen 12V
- LED Leuchtmittel 12V
- Leuchtmittel Kfz-Bereich 12V
- JOKON Fahrzeugleuchte
- HELLA Fahrzeugleuchten
- Umrissleuchte, Begrenzungsleuchte, Postionsleuchte
- Reflektoren Wohnmobile
 
- 
                              
                               Solaranlagen
                              
                              - Alle in Solaranlagen
- Solar Sets
- Solarpanel 12V, Solarmodul
- Flexible Solarpanele
- Camping Solarmodule
- Mobile Solaranlage
- Solaranlage Boote
- Solaranlage Garten
- Solarregler 12V, MPPT Laderegler
- Solarbatterien 12V
- Solaranzeige 12V, Solarcomputer 12V
- Solaranlage Zubehör
- Solarpanel-Halterung
- Solardachdurchführung
 
- Camping mit Haustier
- Strandzubehör
 
- 
                Ausbau-Shop- Alle in Ausbau-Shop
- 
                              
                               Wohnmobil Selbstausbau Material
                              
                              - Alle in Wohnmobil Selbstausbau Material
- Antidröhnmatte, Dämmmatte selbstklebend
- Wohnmobil Isolierung, Kleber
- Wohnmobil Innenverkleidung
- Aluwinkel, PVC Profil, LED Profile, U Profil
- Verbindungsprofil, Eckverbinder, Aluprofil
- Möbelbauplatten Sperrholz Pappel, beschichtete Holzplatten
- Lüftungsgitter, Kiemenblech
- Umleimer, T-Umleimer, Schlitzfräse
- Push Lock Schloss, Möbelschnappschloss
- Schaumstoff, Schaumstoffzuschnitt
- Möbelgriff, Schrankgriff
- T5 Gardinen, T6 Vorhänge, T5 Verdunkelung
- Reissverschlüsse
- Klapptischfuß, Hubtischgestell, Schwenktisch
- Möbelbeschläge, Möbelscharniere, Möbelschrauben
- Klappenaufsteller
- Kleiderhaken, Wandhaken
- Konsole für Wandklapptisch, Klappkonsole
- Vollauszug, Schubladenschiene, Schubladenauszug
- Tischhalterung, Tischgleitschiene
- Schwerlastauszug
 
- 
                              
                               Aufstelldach, Hochdach, Hubdach
                              
                              - Alle in Aufstelldach, Hochdach, Hubdach
- VW T6, VW T5 Aufstelldach & Hubdach
- VW T6, VW T5 Hochdach
- VW T4 Aufstelldach, T4 Hubdach
- VW T4 Hochdach
- VW Caddy Aufstelldach
- VW T3 Aufstelldach, Hubdach, Hochdach
- Renault Trafic Aufstelldach,Opel Vivaro, Hochdach
- Ford Transit Custom Aufstelldach
- Hyundai Aufstelldach
- Mercedes Sprinter Aufstelldach
- Toyota Aufstelldach
- Mercedes Vito, Viano Aufstelldach, Hubdach
- Aufstelldach Ducato, Schlafdach Maxivans Universal
- Universal Hubdach
- Fiat Talento, Fiat Scudo Aufstelldach
- Ford Transit Hochdach
- Bauteile für Aufstelldach, Hubdach
- Aufstelldach Citroen Jumpy/Spacetourer, Berlingo, Peugot Exp
- VW LT, Crafter Hochdach
- Mercedes Sprinter Hochdach
- Fiat Ducato Hochdach
 
- Campingboxen
- Fenster Kastenwagen
- 
                              
                               T6 Ausbau, T5 Camping-Ausbau kurzer Radstand
                              
                              - Alle in T6 Ausbau, T5 Camping-Ausbau kurzer Radstand
- Campingausbau T5 & T6 TrioLoft
- Campingausbau T5 & T6 Bike & Surf
- Campingausbau T5 & T6 Weekender
- Campingausbau T5 & T6 CityVan
- Campingausbau T5 & T6 Bel Ami
- Campingausbau T5 & T6 Sportcamper
- Campingausbau T5 & T6 TravelStyle
- Campingausbau T5 & T6 TrioStyle
- Campingausbau T5 & T6 Weekender Plus
- Campingausbau T5 & T6 MultiStyle
- Aufstelldach Easyfit mit Gurtverschluss
- Aufstelldach EasyFit mit Gurtverschluss für Klimahimmel
- Aufstelldach EasyFit mit Sicherheitsverschluss Klimahimmel
- Aufstelldach Superflach II vorne hoch
- Aufstelldach Superflach II hinten hoch
- Hochdach Sportline
- Hochdach Ergoline
- Hubdach VW T5 & T6
- Schlafsitzbank Family schmal
- Campingboxen
- VW T5 & T6 kR Gardinen
- VW T5 & T6 Ausbaufenster
 
- 
                              
                               T6 Ausbau, T5 Camping-Ausbau langer Radstand
                              
                              - Alle in T6 Ausbau, T5 Camping-Ausbau langer Radstand
- Campingausbau T5 & T6 Bike & Surf langer Radstand
- Campingausbau T5 & T6 Weekender langer Radstand
- Campingausbau T5 & T6 CityVan langer Radstand
- Campingausbau T5 & T6 SportCamper langer Radstand
- Campingausbau T5 & T6 TravelStyle langer Radstand
- Campingausbau T5 & T6 TrioStyle langer Radstand
- Campingausbau T5 & T6 Weekender Plus langer Radstand
- Aufstelldach EasyFit mit Gurtverschluss
- Aufstelldach Easyfit mit Sicherheitsverschluss
- Aufstelldach Superflach II vorne hoch
- Aufstelldach Superflach II hinten hoch
- Hochdach Ergoline
- Hubdach VW T5 & T6 lR
- Schlafsitzbank V333 TrioStyle
- Schlafsitzbank Family breit
- Schlafsitzbank Family schmal
- Campingboxen
- VW T5 & T6 lR Gardinen
 
- T6 Ausbau Multivan, T5 Camping-Ausbau
- VW Caddy Camper Ausbau
- T4 Ausbau kurzer Radstand
- T4 Ausbau langer Radstand
- T4 Ausbau Multivan
- T3 Ausbau
- Vito Camper Ausbau, Viano, V Klasse Camper ab 2014
- Renault Trafic/Opel Vivaro/Nissan NV300/Fiat Talento Ausbau
- 
                              
                               Minicamper Ausbau Caddy, Berlingo, Kangoo, Partner, Citan
                              
                              - Alle in Minicamper Ausbau Caddy, Berlingo, Kangoo, Partner, Citan
- VW Caddy 4 kurz
- VW Caddy 4 lang
- Citroën Berlingo II (B9)
- Renault Kangoo I (1998-2009) - Smile
- Renault Kangoo II (ab 2008) - Active
- Ford Tourneo Connect I kR 2002 bis 2013
- Ford Tourneo Connect II kR ab 2014
- Mercedes Citan kR ab 10/2012 bis 7/2021
- Peugeot Partner Tepee II ab 5/2008 bis 6/2018
 
- Van Ausbau VW Crafter/Mercedes Sprinter
- Citroen Spacetourer Ausbau
- Ford Transit Ausbau, Ford Transit Camper
- Fiat Ducato Ausbau
 
- 
                Ersatzteile-Shop- Alle in Ersatzteile-Shop
- 
                              
                               Ersatzteile für ALDE
                              
                              - Alle in Ersatzteile für ALDE
- Alde Montage und Zubehör
- Alde Konvektoren Heizkörper Handtuchtrockner
- Alde Fußbodenheizung Heizmatten
- Alde Füllpumpe Leckagetestgerät
- Alde Glykol Flüssigkeit
- Alde Austauschkessel
- Ersatzteile für Alde Compact 3020
- Ersatzteile für Alde Compact 3010
- Ersatzteile für Alde Compact 3000
- Ersatzteile für Alde Comfort 292x
- Ersatzteile für Alde Elektropatrone
- Ersatzteile für Alde Primus Heizgeräte
 
- 
                              
                               Ersatzteile für AL-KO, Ersatzteile für Winterhoff
                              
                              - Alle in Ersatzteile für AL-KO, Ersatzteile für Winterhoff
- Ersatzteile für AL-Ko Big Foot
- Ersatzteile für AL-Ko Caravan
- Ersatzteile für AL-Ko Bremsen
- Ersatzteile für AL-Ko Multifunktionsträger
- Ersatzteile für AL-Ko ECS Niveauregulierung
- Ersatzteile für AL-Ko Seilwinden
- Ersatzteile für AL-Ko Sicherheitskupplung
- Ersatzteile für AL-Ko Caravanstützen
- Ersatzteile für AL-Ko Rangierhilfen, AL-KO Mammut Ersatzteil
- Ersatzteile für Winterhoff Zugkugelkupplungen
- Ersatzteile für Winterhoff Kupplungsköpfe
- Ersatzteile für Winterhoff Bremsbacken
- Ersatzteile für Winterhoff Handkurbeln
 
- 
                              
                               Ersatzteile für Dometic, Ersatzteile für Seitz
                              
                              - Alle in Ersatzteile für Dometic, Ersatzteile für Seitz
- Ersatzteile für Dometic Sky View
- Ersatzteile für Dometic Absorberkühlschrank, Electrolux
- Ersatzteile für Dometic Waeco Kompressorkühlschrank
- Ersatzteile für Dometic Kühlbox, Campingkühlbox
- Ersatzteile für Seitz Fenster S3, Dometic Fenster
- Ersatzteile für Seitz Fenster S5,S6, Dometic Fenster
- Ersatzteile für Seitz Fenster S7, Dometic Fenster S7
- Ersatzteile für Dometic Mini-Heki, Seitz Mini-Heki
- Ersatzteile für Dometic Heki 1-4, Seitz Heki 1-4
- Ersatzteile für Dometic Markisenzelt
- Ersatzteile für SMEV-Kocher, SMEV-Backofen
- Ersatzteile für Cramer-Kocher, Gaskocher Wohnmobil
- Ersatzteile für Dometic-Gasgrill, Gasbackofen Wohnmobil
- Ersatzteile für Campingtoilette, Chemietoilette
- Ersatzteile für Wohnmobiltoiletten, Dometic Toiletten
- Ersatzteile für Dometic Markisen, Prostor Markisen
- Ersatzteile für Dometic Midi-Heki, Seitz Midi-Heki
- Ersatzteile für Dometic Seitz Serviceklappen
- Ersatzteile für Dometic Rückfahrkamera
- Ersatzteile für Dometic Klimageräte
- Ersatzteile für Dometic Cara D, Wohnmobil Tür
- Ersatzteile für Diebstahlschutz/Sicherheit
- Ersatzteile für Dometic Energiesysteme
- Ersatzteile für Dometic Rollos, Seitz Rollos
- Ersatzteile für Seitz Fenster S4, Dometic Fenster
 
- 
                              
                               Ersatzteile für Fiamma
                              
                              - Alle in Ersatzteile für Fiamma
- Ersatzteile für Fiamma Markise F35
- Ersatzteile für Fiamme Markise F45S
- Ersatzteile für Fiamme Markise F45L
- Ersatzteile für Fiamma Markise F65
- Ersatzteile für Fiamma Markise F70
- Ersatzteile für Fiamma Caravanstore, Fiamma Markisenvorzelt
- Ersatzteile für Fiamma Zip Markisen, Privacy-Room
- Ersatzteile für Fiamma Fahrradträger VW T3
- Ersatzteile für Fiamma Fahrradträger für VW T4
- Ersatzteile für Fiamma Fahrradträger VW T5
- Ersatzteile Fiamma Fahrradträger Renault Trafic/Opel Vivaro
- Ersatzteile für Fiamma Fahrradträger Fiat Ducato
- Ersatzteile für Fiamma Fahrradträger für Mercedes Vito/Viano
- Ersatzteil Fiamma Fahrradträger VW Crafter/Mercedes Sprinter
- Ersatzteile für Fiamma Fahrradträger Universal, Rückwand
- Ersatzteile für Fiamma Tanks
- Ersatzteile für Fiamma Dachhauben
- Ersatzteile für Fiamma Wasserpumpen
- Ersatzteile für Dachgalerien/Leitern
- Ersatzteile für Fiamma Türsicherung
- Ersatzteile für Fiamma Gepäckboxen
- Ersatzteile für Fiamma BiPot, Fiamma Campingtoiletten
- Ersatzteile für Fiamma Markisen Sonstige
 
- 
                              
                               Ersatzteile für Reich
                              
                              - Alle in Ersatzteile für Reich
- Ersatzteile für Reich Rangiersysteme, Easy Driver
- Ersatzteile für Reich Wasserhahn
- Ersatzteile für Reich Campingduschen, Duschamaturen
- Ersatzteile für Reich Wasserpumpen
- Ersatzteile für UniQuick, Ersatzteile für Rohrsystem
- Ersatzteile für Reich Wassersteckdose, Gassteckdose
- Ersatzteile für Reich Caravanspiegel
- Ersatzteile für Reich Wasserentkeimer, UV-Clean Ersatzteile
 
- Ersatzteile für Reimo, Carbest, Camp4
- 
                              
                               Ersatzteile für Remis, Ersatzteile für Fensterrollo
                              
                              - Alle in Ersatzteile für Remis, Ersatzteile für Fensterrollo
- Ersatzteile für Remis Fahrerhausverdunklung, RemiFront
- Ersatzteile für Remis Insekenschutz, Remis RemiCare
- Ersatzteile für Remis Dachhauben, Remis RemiTop
- Ersatzteile für Remis Rollosysteme, Remis Rollos
- Ersatzteile für Reims Raumtrenner, Remis RemiForm
 
- Ersatzteile für SOG
- 
                              
                               Ersatzteile für Thetford, Ersatzteile für Porta-Potti
                              
                              - Alle in Ersatzteile für Thetford, Ersatzteile für Porta-Potti
- Ersatzteile für Thetford Porta Potti
- Ersatzteile für Thetford C-400 + C-4xx + C-500
- Ersatzteile für Thetford C-200 + C-2xx
- Ersatzteile für Thetford C2/C3/C4
- Ersatzteile für Thetford Aqua Magic Toilette
- Thetford Cassetten, Thetford Ersatzcassetten
- Ersatzteile für Thetford Serviceklappen
- Ersatzteile für Thetford Kühlschrank
- Ersatzteile für Thetford Electra Magic
- Ersatzteile für Thetford Amaturen
- Ersatzteile für Thetford Kocher
- Ersatzteile für Thetford Backöfen
 
- 
                              
                               Ersatzteile für Thule, Omnistor Ersatzteile
                              
                              - Alle in Ersatzteile für Thule, Omnistor Ersatzteile
- Ersatzteile für Thule Türsicherung, Thule Door Lock
- Ersatzteile für Omnistor 1200 Markisen, Caravanstyle
- Ersatzteile für Omnistor 2000 Markisen
- Ersatzteile für Omnistor 4900 Markisen
- Ersatzteile für Omnistor 5000,5002,5003 Markisen
- Ersatzteile für Omnistor 5102 Markisen, VW Bus Markise
- Ersatzteile für Omnistor 5200 Markisen
- Ersatzteile für Omnistor 5500,5575,5800 Markisen
- Ersatzteile für Omnistor 6000,6002 Markisen
- Ersatzteile für Omnistor 6200 Markisen
- Ersatzteile für Omnistor 6502,6900 Markisen
- Ersatzteile für Omnistor 8000 Markisen
- Ersatzteile für Omnistor 9200 Markisen
- Ersatzteile für Dachhaube Omnivent, Thule Dachhauben
- Thule Fahrradträger
- Ersatzteile für Thule Dachträger, Thule Dachreling
- Ersatzteile für Thule Top Box, Thule Carry All Box
- Ersatzteile für Thule Trittstufen, Omnistep
- Ersatzteile für Thule Leitern, Thule Ladder
- Ersatzteile für Omnistore Markisenvorzelte, Safari Room
- Ersatzteile für Omnistor Markisen, Thule Markisen Ersatzteil
 
- 
                              
                               Ersatzteile für Truma
                              
                              - Alle in Ersatzteile für Truma
- Ersatzteile für Truma Mover, Truma Rangiersystem
- Ersatzteile für Truma S-Heizungen
- Ersatzteile für Truma SL-Heizungen
- Ersatzteile für Truma E-Heizungen
- Ersatzteile für Truma SW Heizungen/Boiler/Ultraheat
- Ersatzteile für Truma C-Heizungen
- Ersatzteile für Truma Gasanlagen, Truma SecuMotion
- Ersatzteile für Truma Klimaanlagen Saphir
- Ersatzteile für Truma Boiler B1, B2, B3
- Ersatzteile für Truma Multi-/Trumavent
- Ersatzteile für Truma Frostair 1700, 2100, 2300
- Ersatzteile für Truma Nova Gasleuchte
- Ersatzteile für Truma Dachklimaanlagen Aventa eco, comfort
 
- Ersatzteile für 12 Volt Geräte, Ersatzteile für 220 Volt
- 
                              
                               Ersatzteile für Camping Boiler
                              
                              - Alle in Ersatzteile für Camping Boiler
- Ersatzteile für Elgena Boiler KB3, Elgena Boiler KB3 Kombi
- Ersatzteile für Webasto Boiler, Whale Boiler
- Ersatzteile für Elgena Boiler KB6, Elgena Boiler KB6 Kombi
- Ersatzteile für Elgena Boiler Nautic, Nautic Compact
- Ersatzteile für Truma Boiler, Truma Therme
- Ersatzteile für Truma Boiler B1, B2, B3
- Ersatzteile für Truma Combi Heizung, Truma C Heizung
 
- Ersatzteile für Camping Fernseher
- Ersatzteile für Campingkocher, Ersatzteile für Gasgrills
- 
                              
                               Ersatzteile für Campingmöbel, Ersatzteile für Westfield
                              
                              - Alle in Ersatzteile für Campingmöbel, Ersatzteile für Westfield
- Ersatzteile für Westfield Camping Stuhl
- Ersatzteile für Westfield Camping Tisch
- Ersatzteile für Westfield Camping Möbel
- Ersatzteile für Crespo Camping Stuhl
- Ersatzteile für Crespo Camping Tisch
- Ersatzteile für Crespo Camping Möbel
- Ersatzteile für Camp4 Camping Stuhl
- Ersatzteile für Camp4 Camping Liege
- Ersatzteile für Camp4 Camping Tisch
 
- 
                              
                               Ersatzteile für Fahrradträger, Ersatzteile für Dachträger
                              
                              - Alle in Ersatzteile für Fahrradträger, Ersatzteile für Dachträger
- Ersatzteile für ALULINE Dachträger
- Ersatzteile für ALULINE Fahrradträger
- Ersatzteile für FIAMMA Fahrradträger
- Ersatzteile für Thule Fahrradträger
- Ersatzteile für Atera Fahrradträger
- Ersatzteile für Atera Dachträger
- Ersatzteile für BR-Systems E-Bike Träger
 
- 
                              
                               Ersatzteile für Fenster, Ersatzteile für Dachhauben
                              
                              - Alle in Ersatzteile für Fenster, Ersatzteile für Dachhauben
- Ersatzteile für Polyplastic Ausstellfenster
- Ersatzteile für Polyplastic Bullaugen
- Ersatzteile für Fiamma Dachhauben
- Ersatzteile für Parapress Fenster, TB-Kompakt Fenster
- Ersatzteile für MPK Dachhauben
- Ersatzteile für Hartal Dachhauben
- Ersatzteile für Thule Dachhauben, Thule Vent
- Ersatzteile für Remis Dachhauben, Remis RemiTop
- Ersatzteile für Seitz Fenster S3
- Ersatzteile für Seitz Fenster S4
- Ersatzteile für Seitz Fenster S5 und S6
- Ersatzteile für Seitz Fenster S7
- Ersatzteile für Dometic Mini-Heki
- Ersatzteile für Dometic Midi-Heki
- Ersatzteile für Dometic Heki 1-4
 
- Ersatzteile für Generator, Ersatzteile für Gasgenerator
- 
                              
                               Ersatzteile für Klimaanlagen, Alle Marken
                              
                              - Alle in Ersatzteile für Klimaanlagen, Alle Marken
- Ersatzteile für Telair Klimaanlagen
- Ersatzteile für Dometic Dachklimaanlage
- Ersatzteile für Dometic Stauraumklimaanlage
- Ersatzteile für Truma Frostair Klimaanlage
- Ersatzteile für Truma Saphir Klimaanlage
- Ersatzteile für Truma Aventa Klimaanlage
- Ersatzteile für Eberspächer Klimaanlage
 
- 
                              
                               Ersatzteile für Kocher, Spüle, Backofen. Kochfeld
                              
                              - Alle in Ersatzteile für Kocher, Spüle, Backofen. Kochfeld
- Ersatzteile für Dometic Kocher, SMEV Kocher
- Ersatzteile für Dometic Backöfen, SMEV Backöfen
- Ersatzteile für Can Kocher
- Ersatzteile für Cramer Kocher
- Ersatzteile für Thetford Kocher
- Ersatzteile für Thetford Backöfen
- Ersatzteile für Dynaxo Gas Glaskeramik-Kochfeld
- Ersatzteile für Wallas Diesel Glaskeramik-Kochfeld
- Ersatzteile für Webasto Diesel Glaskeramik-Kochfeld
 
- Ersatzteile für Motorradträger, Linnepe, Pollicino
- Ersatzteile für Rangiersysteme
- Ersatzteile für Rollos
- 
                              
                               Ersatzteile für Sat-Anlagen Ten Haaft, Teleco, Megasat
                              
                              - Alle in Ersatzteile für Sat-Anlagen Ten Haaft, Teleco, Megasat
- Ersatzteile für Ten Haaft Caro
- Ersatzteile für Ten Haaft Oyster
- Ersatzteile für Ten Haaft Dom
- Ersatzteile für Ten Haaft Cytrac
- Ersatzteile für Ten Haaft Receiver
- Ersatzteile für Maxview Seeker
- Ersatzteile für Maxview Twister
- Ersatzteile für Megasat Caravanman 85
- Ersatzteile für Megasat Campingman
- Ersatzteile für Megasat Satmaster
- Ersatzteile für Kathrein CAP
- Ersatzteile für Kathrein BAS60
- Ersatzteile für Kathrein Receiver
- Ersatzteile für Carbest Snipe
- Ersatzteile für Teleco Flatsat
- Ersatzteile für Teleco Wing
 
- Ersatzteile für Sitzbank, Ersatzteile für Variotech
- 
                              
                               Ersatzteile für Standheizung, Ersatzteile Kraftstoffheizung
                              
                              - Alle in Ersatzteile für Standheizung, Ersatzteile Kraftstoffheizung
- Ersatzteile für Webasto Air Top 2000ST
- Ersatzteile für Webasto Air Top 3500
- Ersatzteile für Webasto Air Top EVO 4000
- Ersatzteile für Webasto Air Top EVO 5500
- Ersatzteile für Webasto ThermoTop
- Ersatzteile für Webasto Einbaukit
- Ersatzteile für Eberspächer D2 Airtronic
- Ersatzteile für Eberspächer D3 Airtronic
- Ersatzteile für Brano ATESO ALFA 1,7Kw
- Ersatzteile für Brano Breeze III 1,9Kw
- Ersatzteile für Brano Breeze IV 2,7Kw
- Ersatzteile für Brano Wind III 3,8Kw
- Ersatzteile für Brano Wind IV 4,7Kw
 
- Ersatzteile für Tischsysteme
- Ersatzteile für Trittstufen
- 
                              
                               Ersatzteile für Wasserpumpen + Wasserhähne, Reich, Comet
                              
                              - Alle in Ersatzteile für Wasserpumpen + Wasserhähne, Reich, Comet
- Ersatzteile für Wassertank, Ersatzteile für Wasseranschlüsse
- Ersatzteile für Comet Wasserhähne/Duschamaturen
- Ersatzteile für Comet Wasserpumpen
- Ersatzteile für Reich Amaturen, Reich Wasserhahn
- Ersatzteile für Reich Duschamaturen
- Ersatzteile für Reich Wasserpumpen
- Ersatzteile für Shurflo Wasserpumpen
- Ersatzteile für Flojet Wasserpumpen
 
- Reparaturen für Wohnwagen, Reparaturen für Wohnmobil
- Ersatzteile für Wohnwagenspiegel, Caravanspiegel
- Ersatzteile für Leitern
 
- 
                Installationen/Montagen
Top Angebote
     No reviews  
      
              Autorücksitz-Organizer TravelKid Tidy, schmutzabweisend, viele Taschen, für alle Autositze, auch Sportsitze, grau
            
          
       CHF 23.00
    
    
     No reviews  
      
              Camping Geschirr Set für 2 Personen, 10-Teilig, tragbares Campingbesteck Set aus Edelstahl - Teller
            
          
       CHF 65.90
    
    CHF 90.00
  
  
Spare CHF 24.10
 
          
 
 
 
 
 
 
 
 
 
 
 
 
 
 
 
 
 
 
 
 
 
 
 
